湖北亚卓建设工程取得铝型材铣孔槽加工机专利 实现夹持装置的夹持面自清洁

发表时间:2025-10-10 22:26作者:金融界

本文源自:金融界

金融界2025年10月10日消息,国家知识产权局信息显示,湖北亚卓建设工程有限公司取得一项名为“一种铝型材铣孔槽加工机”的专利,授权公告号CN223394378U,申请日期为2024年10月。

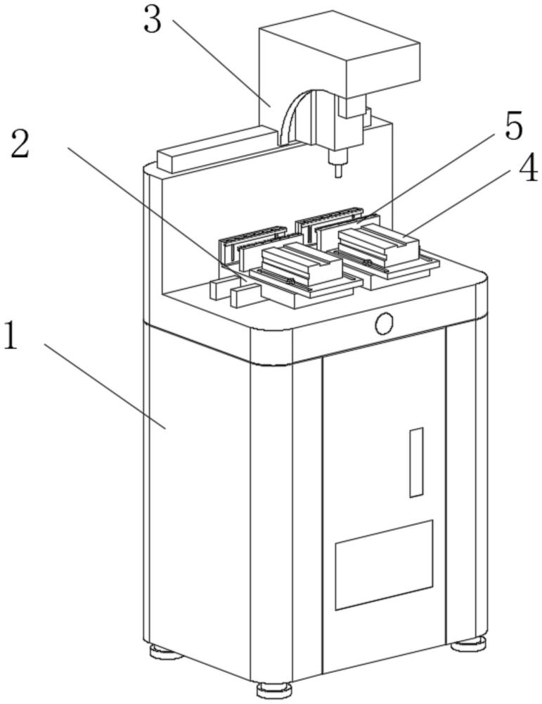
专利摘要显示,本实用新型属于铝型材孔槽加工技术领域,具体的说是一种铝型材铣孔槽加工机,包括本体、机头和气缸,所述机头安装在本体上,用于铝型材的孔槽加工,所述本体表面设置有加工台,所述加工台表面固定连接有底座,所述气缸通过螺栓固定安装在底座上,用于夹持铝型材,底板,所述固定安装在底座表面,所述气缸的输出轴上固定连接有挤板,所述底板内开设有空腔,所述空腔侧壁开设有滑槽,所述滑槽内滑动连接有刮板,通过刮板配合推板和弹性膜,可以实现夹持装置的夹持面自清洁的效果,避免工作人员手动清理,简化加工流程,同时通过弹簧驱动的刮板还能把铝型材推起,便于工作人员拿取。

1.jpg

天眼查资料显示,湖北亚卓建设工程有限公司,成立于2019年,位于十堰市,是一家以从事房屋建筑业为主的企业。企业注册资本500万人民币。通过天眼查大数据分析,湖北亚卓建设工程有限公司财产线索方面有商标信息10条,专利信息12条。


分享到: